黑龙江省高级人民法院主办

 

黑龙江法院2023年第三季度微信、微博榜单 来了

发布时间:2023-12-01 14:15:02


    来了!2023年第三季度双微榜单,来了!黑龙江法院系统2023年官方微信、微博第三季度榜单火热出炉!一起来看看吧!
    微信榜单
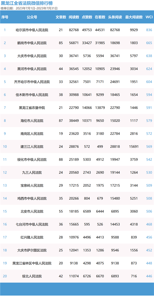
    第三季度微信榜单中,哈尔滨市中级人民法院夺得三个月榜首图片图片,多项数据领跑,最高WCI指数836。
    鹤岗市中级人民法院摘得两次第二名图片,成绩稳步提高,站稳第一梯队图片,最高WCI指数665。
    黑河市中级人民法院夺得一次第二名,再进一步,最高WCI指数661。

    大庆市中级人民法院和农垦中级法院分别获得一次季军,继续加油!

    榜单WCI计算方法

    点击图片看详情~

    微博榜单
    第三季度微博榜单中,东方红人民法院获得两次榜首、一次第二;大庆市中级人民法院获得一次榜首、两次第二图片图片图片。
    宝泉岭人民法院成绩稳定,站稳第一梯队。

    恭喜几家法院,今年三个季度始终成绩亮眼,实至名归。

    榜单BCI计算方法

    点击图片看详情~

 
 

 

关闭窗口